National unified service hotline:0757-26616782
中文Please enter keywords for search
Foshan Zhongshun Water Treatment Technology Co., Ltd
Tel: 0757-26616782 26628076
Email: [email protected]
Website: m.fwall.cn
Official account: zs water
Address: No. 3 East Hongye Road, Ronggui Rongqi Avenue, Shunde District, Foshan City, Guangdong Province

Gravity valveless filters are mainly used to remove suspended solids from water. It is widely used in various water treatment projects such as water source Water purification and circulating Water purification.
This series of equipment has absorbed mature advanced technology both domestically and internationally, adopting hydraulic fully automatic control operation, simple operation, convenient maintenance, and no need for dedicated management.
Main technical parameters:
1. Operating parameters
Design filtration rate: 8-10 meters/period final head loss: 1.7 meters
Backwashing intensity: 14-15 liters/second · square meter
Flushing duration: 5-7 minutes Filter material: quartz sand
Cushion thickness: 200mm Filter layer thickness: 800mm
2. Water quality parameters
The inlet turbidity is less than 15 degrees, and the outlet turbidity is less than 3 degrees.
The inlet turbidity is less than 10 degrees, and the outlet turbidity is less than 2 degrees.
3. Water pressure
The inlet water pressure is required to be greater than or equal to 0.07MPa.
Equipment specifications:

Note: When the processing water volume is greater than 150m3/h, it needs to be composed of multiple filter tanks, which can be flexibly arranged according to specific conditions.
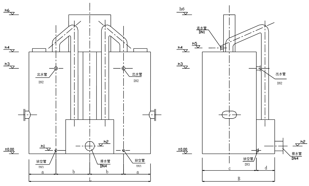
Installation dimensions:
| RS-20 | RS-30 | RS-40 | RS-50 | RS-60 | RS-80 | RS-100 | RS-120 | RS-150 | RS-200 |
B | 1850 | 2060 | 2500 | 2680 | 2860 | 3180 | 3370 | 3530 | 3700 | 4200 |
L | 3600 | 3800 | 4100 | 4500 | 4900 | 5500 | 6100 | 6500 | 6000 | 8000 |
a | 650 | 750 | 900 | 1000 | 1100 | 1250 | 1400 | 1500 | 1500 | 1750 |
b | 1150 | 1150 | 1150 | 1250 | 1350 | 1500 | 1650 | 1750 | 1500 | 2250 |
c | 1300 | 1500 | 1800 | 2000 | 2200 | 2500 | 2800 | 3000 | 3000 | 3500 |
d | 550 | 560 | 700 | 680 | 660 | 680 | 570 | 530 | 700 | 700 |
h1 | 120 | 120 | 120 | 120 | 120 | 140 | 140 | 140 | 140 | 140 |
h2 | 200 | 220 | 250 | 280 | 280 | 310 | 310 | 360 | 360 | 360 |
h3 | 3.60 | 3.60 | 3.60 | 3.60 | 3.60 | 3.60 | 3.60 | 3.70 | 3.70 | 3.70 |
h4 | 4.10 | 4.15 | 4.15 | 4.20 | 4.20 | 4.25 | 4.25 | 4.30 | 4.30 | 4.30 |
h5 | 4.35 | 4.40 | 4.40 | 4.45 | 4.45 | 4.55 | 4.55 | 4.60 | 4.60 | 4.60 |
h6 | 6.05 | 6.10 | 6.10 | 6.15 | 6.15 | 6.20 | 6.20 | 6.25 | 6.25 | 6.25 |
DN1 | 100 | 125 | 150 | 150 | 150 | 200 | 200 | 250 | 250 | 300 |
DN2 | 80 | 100 | 100 | 125 | 125 | 150 | 200 | 200 | 200 | 250 |
DN3 | 80 | 80 | 80 | 80 | 80 | 100 | 100 | 100 | 100 | 100 |
DN4 | 200 | 250 | 300 | 350 | 350 | 400 | 400 | 500 | 500 | 500 |

